siirry päävalikkoon

Tulostuskelpoiset levyt

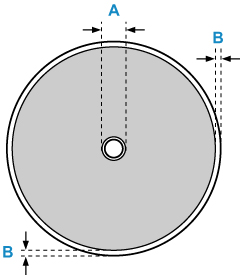
Tulostuskelpoisten levyjen tulostusalue on 17 mm (0,67 tuumaa) tulostuspinnan sisähalkaisijasta ja 1 mm (0,04 tuumaa) tulostuspinnan ulkohalkaisijasta.

Tulostusalue

  • A: 17,0 mm (0,67 tuumaa)
  • B: 1,0 mm (0,04 tuumaa)